在葡萄酒的世界里,葡萄酒的評分一直是許多人選購葡萄酒的重要量化指標之一。當一款酒評家評分達到90分和另一款88分的酒擺在面前,大部分人都會毫不猶豫地高分的那一瓶。不過,這些細微的評分差別真的那么重要嗎?或者說,葡萄酒的評分,究竟是否真的靠譜呢?
“百分制”的起源
如今最流行的“100分評分制”,最初是由現今世界上最具影響力的酒評家羅伯特·帕克(Robert Parker)在1980年代“締造”出來的,他的評分體系也是目前接受度最高的評分系統。
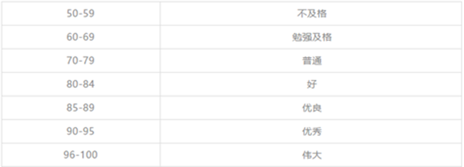
在帕克的百分制里面,所有的葡萄酒的底分是50分,然后依據對酒的觀、聞、品等方面打不同的分數:

葡萄酒評分的問題
1. 酒評家評分標準不一
常見的葡萄酒評分,大致有羅伯特·帕克的《葡萄酒倡導家》(RP/WA)、《葡萄酒觀察家》(WS)、《葡萄酒愛好者》(WE)等等,它們都采用流行的百分制,在評級方面也大同小異。在對葡萄酒的基本品質判斷上,各個評分系統都沒有多少出入;然而當一款葡萄酒達到了優良乃至優秀的等級之后,主觀上的評判則會較大程度地左右最后的評分。
例如,某些酒評家會偏愛復雜而口感濃重的類型,另一部分酒評家也許更喜歡優雅、微妙的葡萄酒。因此即使是同一款葡萄酒,也往往會出現兩個相差很大的分數。
此外,酒評家在打分上的趨向也不一樣:有些酒評家向來吝于給高分,有些則剛好相反。所以,在依據評分買酒之前,還是要了解各個酒評家和機構的評分習慣:一瓶87~89分的葡萄酒也許并不遜色于另一瓶90分的酒款。
2. 同分不一定同質
這個問題非常好理解:同樣是90分的酒款,一瓶是加州納帕谷的赤霞珠,另一瓶則是澳大利亞的西拉,它們之間的風格差異巨大,其味道在不同的消費者眼中也有高低之分。
因此,只有在指定的產區或者風格范圍內,具體的評分才具備指導意義。
3. 有評分的酒款只是少數
世界上的葡萄酒千千萬萬種,然而酒評家卻是非常有限的。一個權威而龐大的酒評家團隊,一年也不過品嘗一萬幾千款酒而已,這個數字在所有的葡萄酒里面簡直不值一提??梢哉f,我們在市面上接觸到的葡萄酒絕大部分都是沒有評分的酒。因此,依據評分來買酒本身就不具備很高的可操作性。

4. 低分酒根本見不到
在所有被評了分數的酒款里面,只有高分酒款才會自豪地將評分堂而皇之地展示出來。你根本不可能在貨架上看到一瓶標示79分的葡萄酒。而且,大多數消費者都不愿意花費時間在買酒之前就通過雜志、網絡等媒介查詢一款酒的具體評分,這也使得當我們見到一款有具體評分的葡萄酒時,大概率該酒是一款“高分酒”。
葡萄酒評分,真的有用嗎?
如前文所述,在一定的產區或者風格范圍內,葡萄酒的評分可以幫助你更輕松地找到更讓你滿意的酒款,同時也可以擴展你的葡萄酒知識。但值得注意的是,只有在充分了解了葡萄酒評分的種種局限性的前提之下,那些數字化的分數對你才有意義。